ZusammensetzungWirkstoffe
Methotrexatum ut methotrexatum dinatricum
Hilfsstoffe
Natrii chloridum, natrii hydroxidum q.s. ad pH, aqua ad iniectabilia q.s. ad solutionem
Gesamtnatriumgehalt:
|
|
|
Gesamtnatriumgehalt (mg)
| |
Dosis Volumen
|
7,5 mg/0,75 ml
|
2,804
| |
10 mg/1 ml
|
3,739
| |
15 mg/1,5 ml
|
5,609
| |
20 mg/2 ml
|
7,478
| |
7.5 mg/0.375 ml
|
1,548
| |
10 mg/0.5 ml
|
2,065
| |
12.5 mg/0.625 ml
|
2,581
| |
15 mg/0.75 ml
|
3,097
| |
17.5 mg/0.875 ml
|
3,613
| |
22,5 mg/1,125 ml
|
4,645
| |
27,5 mg/1,375 ml
|
5,677
| |
20 mg/1 ml
|
4,129
| |
25 mg/1,25 ml
|
5,161
| |
30 mg/1,5 ml
|
6,194
|
Alkoholtupfer
Alcohol isopropylicus 70%.
Indikationen/AnwendungsmöglichkeitenAktive rheumatoide Arthritis bei erwachsenen Patienten.
Polyarthritische Formen der schweren, aktiven juvenilen idiopathischen Arthritis bei mangelndem Ansprechen auf nicht-steroidale Antirheumatika (NSAR).
Schwere, hartnäckige und beeinträchtigende Psoriasis vulgaris, die nicht genügend auf andere Therapieformen wie Phototherapie, PUVA und Retinoide anspricht, sowie schwere Psoriasis arthropathica bei erwachsenen Patienten.
Leichter bis mittelschwerer Morbus Crohn, entweder allein oder in Kombination mit Kortikosteroiden bei erwachsenen Patienten, die auf Thiopurine nicht ansprechen oder diese nicht vertragen.
Dosierung/Anwendung
|
Methrexx darf nur 1x wöchentlich injiziert werden. Der Patient muss explizit auf den ungewöhnlichen Umstand hingewiesen werden, dass Methrexx nur 1x wöchentlich angewendet wird. Es wird empfohlen, einen geeigneten festen Wochentag für die Injektion zu vereinbaren. Der Verordner sollte den Wochentag der Injektion auf der Verordnung/Aussenverpackung vermerken.
|
Methrexx sollte nur von Ärzten verschrieben werden, die Erfahrungen mit den verschiedenen Eigenschaften des Arzneimittels und seiner Wirkweise haben.
Die Elimination von Methotrexat ist bei Patienten mit einem dritten Verteilungsraum (Aszites, Pleuraerguss) eingeschränkt. Diese Patienten müssen besonders sorgfältig auf Toxizitäten überwacht werden. Ausserdem ist eine Dosisreduktion oder, in einigen Fällen, ein Abbruch der Behandlung mit Methotrexat erforderlich (siehe Rubriken «Warnhinweise und Vorsichtsmassnahmen», sowie «Pharmakokinetik»).
Dosierung bei erwachsenen Patienten mit rheumatoider Arthritis
Die empfohlene Initialdosis beträgt 7,5 mg Methotrexat einmal wöchentlich als subkutane, intramuskuläre oder intravenöse Applikation. Je nach individueller Krankheitsaktivität und Verträglichkeit für den Patienten kann die Initialdosis schrittweise um 2,5 mg pro Woche gesteigert werden. Eine wöchentliche Dosis von 25 mg sollte im Allgemeinen nicht überschritten werden. Jedoch sind Dosierungen über 20 mg/Woche mit einem signifikanten Anstieg der Toxizität verbunden, insbesondere mit Knochenmarksuppression.
Mit einem Wirkungseintritt kann nach etwa 4–8 Wochen gerechnet werden. Nach Erreichen des gewünschten therapeutischen Ergebnisses sollte die Dosierung schrittweise auf die niedrigste noch wirksame Erhaltungsdosis reduziert werden.
Dosierung bei Kindern und Jugendlichen unter 16 Jahren mit polyarthritischen Formen der juvenilen idiopathischen Arthritis (JIA)
Die empfohlene Dosierung beträgt 10–15 mg/m2 Körperoberfläche (KOF) einmal wöchentlich. Bei therapierefraktären Fällen kann die Dosierung auf bis zu 20 mg/m2 Körperoberfläche einmal wöchentlich erhöht werden. Wenn die Dosierung erhöht wird, ist jedoch die Frequenz von Kontrolluntersuchungen zu erhöhen. Aufgrund der begrenzten Verfügbarkeit von Daten zur intravenösen Anwendung bei Kindern und Jugendlichen ist die parenterale Gabe auf die subkutane und intramuskuläre Injektion beschränkt. Patienten mit JIA sollten stets an ein rheumatologisches Zentrum verwiesen werden, das auf die Behandlung von Kindern und Jugendlichen spezialisiert ist.
Bei einer Kreatinin-Clearance <80 ml/min ist die Behandlung mit Methrexx nicht indiziert.
Methrexx wird für die Anwendung bei Kindern unter 3 Jahren nicht empfohlen, da für diese Patientengruppe keine ausreichenden Daten zur Wirksamkeit und Unbedenklichkeit vorliegen (siehe Rubrik «Warnhinweise und Vorsichtsmassnahmen»).
Dosierung bei erwachsenen Patienten mit Psoriasis vulgaris und Psoriasis arthropathica
Es wird empfohlen, eine Testdosis von 5–10 mg parenteral eine Woche vor Therapiebeginn zu applizieren, um idiosynkratische Nebenwirkungen aufzuspüren. Die empfohlene Initialdosis beträgt 7,5 mg Methotrexat einmal wöchentlich als subkutane, intramuskuläre oder intravenöse Applikation. Die Dosierung wird schrittweise gesteigert, soll jedoch im Allgemeinen eine Wochendosis von 25 mg Methotrexat nicht überschreiten.
Dosierungen über 20 mg/Woche können mit einem signifikanten Anstieg der Toxizität verbunden sein, insbesondere mit Knochenmarksuppression. In einigen Ausnahmefällen kann eine höhere Dosis klinisch begründet sein. Sie sollte jedoch eine wöchentliche Höchstdosis von 30 mg Methotrexat nicht überschreiten, da sich dann die Toxizität deutlich erhöht.
Mit einem Wirkungseintritt kann im Allgemeinen nach etwa 2‒6 Wochen gerechnet werden. Nach Erreichen des gewünschten therapeutischen Ergebnisses sollte die Dosierung schrittweise auf die niedrigste noch wirksame Erhaltungsdosis reduziert werden.
Dosierung bei Patienten mit Morbus Crohn
Einleitung der Behandlung:
25 mg/Woche subkutan angewendet. Ein Ansprechen auf die Behandlung kann nach etwa 8 bis 12 Wochen erwartet werden.
Erhaltungsbehandlung:
15 mg/Woche subkutan angewendet.
Aufgrund mangelnder Erfahrung bei Kindern und Jugendlichen wird Methrexx zur Behandlung von Morbus Crohn bei dieser Patientengruppe nicht empfohlen.
Spezielle Dosierungsanweisungen
Patienten mit Nierenfunktionsstörungen
Methrexx sollte bei Patienten mit eingeschränkter Nierenfunktion mit Vorsicht angewendet werden. Die Dosierung sollte wie folgt angepasst werden:
Tabelle 1: Dosisanpassung für Methotrexatdosen < 100 mg/m2 bei Patienten mit eingeschränkter Nierenfunktion (niedrig dosiertes Methotrexat)
|
Kreatinin-Clearance (ml/Min.)
|
% der Dosis zur Verabreichung
| |
≥60
|
100 %
| |
30–59
|
50%
| |
< 30
|
Methotrexat darf nicht angewendet werden.
|
Siehe Rubrik «Kontraindikationen».
Patienten mit Leberfunktionsstörungen
Bei Patienten mit signifikanter bestehender oder vorheriger Lebererkrankung, vor allem falls diese durch Alkohol verursacht ist, sollte Methotrexat, wenn überhaupt, nur mit grosser Vorsicht angewendet werden. Ist der Bilirubin-Wert >5 mg/dl (85,5 µmol/l), ist Methotrexat kontraindiziert.
Ältere Patienten
Bei älteren Patienten sollte aufgrund eingeschränkter Leber- und Nierenfunktionen sowie geringerer Folat-Reserven, die mit steigendem Alter auftreten, eine Dosisreduktion in Betracht gezogen werden.
Anwendung bei Patienten mit einem dritten Verteilungsraum (Pleuraerguss, Aszites)
Da die Halbwertszeit bei Patienten mit einem dritten Verteilungsraum bis um das Vierfache verlängert sein kann, kann eine Dosisreduktion oder, in einigen Fällen, ein Abbruch der Behandlung mit Methotrexat erforderlich sein (siehe Rubriken «Warnhinweise und Vorsichtsmassnahmen», sowie «Pharmakokinetik»).
Art der Anwendung
Dieses Arzneimittel ist nur zur einmaligen Anwendung bestimmt. Methrexx Injektionslösung kann intramuskulär, intravenös oder subkutan injiziert werden (bei Kindern und Jugendlichen nur subkutan oder intramuskulär). Über die Gesamtdauer der Behandlung entscheidet der Arzt.
Wichtiger Warnhinweis zur Dosierung von Methotrexat:
Patienten müssen in der korrekten lnjektionstechnik unterwiesen und geschult werden, wenn sie sich Methotrexat selbst verabreichen. Die erste Injektion mit Methrexx sollte unter direkter medizinischer Überwachung durchgeführt werden.
Eine Anleitung zur Anwendung von Methrexx Injektionslösung in einer Fertigspritze mit Sicherheitsnadel wird im Abschnitt Hinweise für die Handhabung gegeben.
Bitte beachten Sie, dass der gesamte Inhalt angewendet werden muss.
Anmerkung
Bei einem Wechsel von oraler Verabreichung zu parenteraler Anwendung kann eine Dosisreduktion erforderlich werden, die durch die schwankende Bioverfügbarkeit von Methotrexat nach oraler Verabreichung bedingt ist.
Eine Folsäuresupplementierung kann gemäss aktuellen Behandlungsleitlinien erwogen werden.
KontraindikationenMethrexx darf in folgenden Fällen nicht angewendet werden:
Überempfindlichkeit gegenüber Methotrexat oder einem der Hilfsstoffe,
Leberinsuffizienz (siehe auch Abschnitt «Dosierung/Anwendung»),
Alkoholabusus,
Niereninsuffizienz (Kreatinin-Clearance <30 ml/min, siehe auch Abschnitt «Dosierung/Anwendung»),
vorbestehende Blutdyskrasie wie Knochenmarkhypoplasie, Leukopenie, Thrombozytopenie oder signifikante Anämie,
schwere, akute oder chronische Infektionen wie Tuberkulose und HIV, oder andere Immundefizienzsyndrome,
Ulzera der Mundhöhle und bekannte Ulzera des Magen-Darm-Traktes,
Schwangerschaft, Stillzeit (siehe auch Abschnitt «Schwangerschaft/Stillzeit»),
gleichzeitige Impfung mit Lebendimpfstoffen,
Verabreichung von Methotrexat nach Lachgas-Anästhesie.
Warnhinweise und VorsichtsmassnahmenPatienten müssen deutlich darauf hingewiesen werden, dass die Therapie einmal in der Woche angewendet werden muss, nicht jeden Tag. Es wurden besonders bei älteren Patienten nach der versehentlichen täglichen Anwendung der Wochendosis über Todesfälle berichtet.
Patienten, die eine Therapie erhalten, sollten angemessen überwacht werden, damit Anzeichen möglicher toxischer Effekte oder Nebenwirkungen erkannt werden und ohne Verzögerung beurteilt werden können. Daher sollte Methotrexat nur von, oder unter der Aufsicht von Ärzten angewendet werden, deren Erfahrungen und Kenntnisse die Anwendung einer Therapie mit Antimetaboliten einschliesst. Auf Grund des Risikos schwerer oder sogar fataler toxischer Reaktionen, sollte der Patient komplett über die Risiken und die empfohlenen Schutzmassnahmen informiert werden.
Maligne Lymphome können bei Patienten auftreten, die niedrig dosiertes Methotrexat erhalten, so dass Methotrexat abgesetzt werden muss. Sollten sich die Lymphome nicht spontan zurückbilden, ist die Einleitung einer zytotoxischen Therapie erforderlich. Es wurde berichtet, dass die gleichzeitige Gabe von Folatantagonisten wie Trimethoprim/Sulfametoxazol in seltenen Fällen eine akute megaloblastische Panzytopenie verursachen kann.
Photosensitivität
Bei einigen Personen, die Methotrexat anwenden, wurde eine Lichtempfindlichkeit beobachtet, die sich in einer übertriebenen Sonnenbrandreaktion äusserte (siehe «unerwünschte Wirkungen»). Eine intensive Sonnenlicht- oder UV-Strahlenexposition muss vermieden werden, es sei denn, es ist medizinisch indiziert. Die Patienten sollten einen wirksamen Sonnenschutz verwenden, um sich vor intensiver Sonneneinstrahlung zu schützen.
Durch Bestrahlung verursachte/r Dermatitis oder Sonnenbrand können unter der Behandlung mit Methotrexat wieder auftreten (Recall-Reaktion). Psoriatrische Läsionen können sich bei Bestrahlung mit UV-Licht und gleichzeitiger Gabe von Methotrexat verschlimmern.
Bei Patienten mit pathologischen Flüssigkeitsansammlungen wie Aszites oder Pleuraerguss («third distribution space») ist die Elimination von Methotrexat eingeschränkt. Diese Patienten müssen besonders sorgfältig auf Toxizitäten überwacht werden. Ausserdem ist eine Dosisreduktion oder, in einigen Fällen, ein Abbruch der Behandlung mit Methotrexat erforderlich. Pleuraergüsse und Aszites müssen vor dem Beginn der Methotrexat-Behandlung drainiert werden.
Diarrhö und Stomatitis ulcerosa können toxische Wirkungen sein und erfordern eine Unterbrechung der Therapie. Andernfalls können hämorrhagische Enteritis oder Tod durch Darmperforation die Folge sein.
Vitaminpräparate oder andere Produkte, die Folsäure, Folinsäure oder deren Derivate enthalten, können die Wirkung von Methotrexat vermindern.
Bei der Behandlung von Psoriasis sollte Methotrexat auf schwere therapieresistente beeinträchtigende Psoriasis beschränkt bleiben, die nicht ausreichend auf andere Therapieformen anspricht, jedoch nur, wenn die Diagnose mittels einer Biopsie und/oder durch einen Dermatologen gestellt wurde.
Enzephalopathie/Leukenzephalopathie (einschliesslich einer durch den JC-Virus ausgelösten progressiven multifokalen Leukoenzephalopathie (PML)) wurde bei Patienten, die eine Methotrexat-Therapie erhalten haben, beobachtet. PML ist eine potenziell lebensbedrohliche Erkrankung und sollte als Differenzialdiagnose bei immunsupprimierten Patienten mit neu aufgetreten oder veränderten neurologischen Symptomen in Erwägung gezogen werden.
Ausserdem wurde von pulmonaler alveolärer Blutung bei der Anwendung von Methotrexat bei rheumatologischen und ähnlichen Indikationen berichtet. Dieses Ereignis kann auch mit Vaskulitis und anderen Komorbiditäten in Verbindung stehen. Es sollte eine sofortige Untersuchung in Betracht gezogen werden, wenn Verdacht auf eine pulmonale alveoläre Blutung besteht, um die Diagnose zu bestätigen.
Eine Schwangerschaft ist vor der Behandlung mit Methrexx auszuschliessen. Methotrexat ist embryotoxisch und verursacht Abort und fötale Defekte bei Menschen. Während Methotrexat angewendet wird, beeinflusst es die Spermatogenese und Oogenese, was zur Beeinträchtigung der Fertilität führen kann. Diese Wirkungen scheinen nach Absetzen der Therapie reversibel zu sein. Männer müssen während und mindestens drei Monate, Frauen müssen während und mindestens sechs Monate nach der Behandlung eine zuverlässige Verhütungsmethode anwenden. Die möglichen Risiken von Auswirkungen auf die Fortpflanzung sollten mit Patientinnen im gebärfähigen Alter besprochen und ihre Partner sollten entsprechend beraten werden.
Die Anwendung bei Kindern unter 3 Jahren wird aufgrund ungenügender Daten über die Wirkung und Sicherheit nicht empfohlen.
Lachgas-Anästhesie
Die Verabreichung von Methotrexat nach Lachgas-Anästhesie ist kontraindiziert. Die Verwendung von Distickstoffmonoxid-Anästhetika verstärkt den Effekt von Methotrexat auf den Folat-Stoffwechsel, was zu einer erhöhten Toxizität wie schwerwiegende unvorhersehbare Myelosuppression, Stomatitis und Neurotoxizität führt (siehe «Kontraindikationen»).
Schwerwiegende Neurotoxizität mit fatalem Ausgang wurde insbesondere bei intrathekaler Anwendung von Methotrexat nach Lachgas-Anästhesie beobachtet. Dieser Effekt kann durch Folat-Supplementation reduziert werden (siehe «Dosierung/Anwendung»).
Schwerwiegende unerwünschte Wirkungen sind bei Verabreichung von Methotrexat 36 Stunden nach erfolgter Lachgas-Anästhesie aufgetreten. Schwerwiegende unerwünschte Wirkungen sind auch nach diesem Intervall noch möglich.
Fertilität und Fortpflanzung
Fertilität
Es gibt Berichte darüber, dass Methotrexat beim Menschen während der Therapie und für kurze Zeit nach deren Absetzen zu Oligospermie, Menstruationsstörung und Amenorrhö führt.
Ausserdem kann es zur Beeinträchtigung der Fertilität führen, wobei Spermatogenese und Oogenese während der Dauer der Anwendung betroffen sind- diese Effekte scheinen nach Beendigung der Therapie reversibel zu sein.
Teratogenität – Fortpflanzungsrisiko
Methotrexat führt beim Menschen zu Embryotoxizität, Fehlgeburten und fetalen Fehlbildungen. Daher sind die möglichen Auswirkungen auf die Fortpflanzungsfähigkeit, Spontanaborte und kongenitale Fehlbildungen mit Patientinnen im gebärfähigen Alter zu besprechen (siehe Abschnitt «Schwangerschaft/Stillzeit»). Vor der Anwendung von Methrexx muss bestätigt werden, dass keine Schwangerschaft vorliegt. Wenn Frauen im gebärfähigen Alter behandelt werden, müssen sie während der Therapie und für mindestens sechs Monate danach eine effektive Methode zur Empfängnisverhütung anwenden.
Für Hinweise zur Empfängnisverhütung bei Männern siehe Abschnitt «Schwangerschaft/Stillzeit».
Folgende Kontrolluntersuchungen werden empfohlen:
Vor Therapiebeginn oder nach Wiederaufnahme der Therapie nach einer Therapiepause
Grosses Blutbild mit Differenzialblutbild und Thrombozyten, Leberenzymen, Bilirubin, Serumalbumin, Röntgen des Brustkorbs und Nierenfunktionstests. Falls klinisch indiziert Ausschluss von Tuberkulose und Hepatitis.
Während der Therapie (während der ersten 6 Monate mindestens monatlich und danach mindestens vierteljährlich. Eine höhere Kontrollfrequenz sollte auch bei Erhöhung der Dosis in Betracht gezogen werden)
1. Inspektionen der Mundhöhle und des Rachens auf Schleimhautveränderungen.
2. Grosses Blutbild mit Differenzialblutbild und Thrombozyten. Hämatopoetische Suppression ausgelöst durch Methotrexat kann abrupt und bei augenscheinlich sicheren Dosen auftreten. Jeder deutliche Abfall der Leukozyten oder der Thrombozyten bedeutet den sofortigen Therapieabbruch und entsprechende supportive Therapie. Patienten sollen dazu aufgefordert werden, alle Anzeichen und Symptome verdächtiger Infektionen mitzuteilen. Bei Patienten, die gleichzeitig hämatotoxische Arzneimittel einnehmen (z.B. Leflunomid), sollten Blutbild und Thrombozyten engmaschiger überwacht werden.
3. Leberfunktionstests: Es muss besonders auf das mögliche Auftreten einer Lebertoxizität geachtet werden. Wenn anhaltende oder signifikante Auffälligkeiten in Leberfunktionstests, in Tests auf andere nichtinvasive Marker für eine Leberfibrose oder in Leberbiopsien vorliegen, darf die Behandlung nicht begonnen bzw. muss sie abgebrochen werden.
Bei 13–20 % der Patienten wurde ein vorübergehender Anstieg der Transaminasenwerte auf das Zwei- bis Dreifache der Obergrenze des Normbereichs beobachtet. Anhaltende Auffälligkeiten bei den Leberenzymen und/oder eine Abnahme des Serumalbumins können Anzeichen für eine schwere Hepatotoxizität sein.
Anhand der Enzymdiagnostik ist keine zuverlässige Vorhersage der Entwicklung einer morphologisch nachweisbaren Hepatotoxizität möglich, d. h.; dass selbst bei unauffälligen Transaminasenwerten eine nur histologisch nachweisbare Leberfibrose oder, in selteneren Fällen, auch eine Leberzirrhose vorliegen kann.
Zur Überwachung des Zustands der Leber sollten, je nach den lokalen klinischen Leitlinien und der Verfügbarkeit der Verfahren, nichtinvasive diagnostische Optionen in Betracht gezogen werden. Im Einzelfall sollte die Durchführung einer Leberbiopsie zur Diagnose einer Lebererkrankung erwogen werden. Dabei sind die Begleiterkrankungen des Patienten, seine Krankengeschichte und die mit der Biopsie verbundenen Risiken zu berücksichtigen. Zu den Risikofaktoren für eine Hepatotoxizität gehören übermässiger Alkoholkonsum in der Vergangenheit, dauerhaft erhöhte Leberenzyme, eine Lebererkrankung in der Vorgeschichte, erbliche Lebererkrankungen in der Familie, Diabetes mellitus, Fettleibigkeit (Adipositas) und früherer Kontakt mit hepatotoxischen Arzneimitteln oder Chemikalien sowie eine vorangegangene längere Behandlung mit Methotrexat.
Im Falle eines andauernden Anstiegs der Leberenzyme sollte eine Reduzierung der Dosis oder das Absetzen der Therapie in Betracht gezogen werden.
Aufgrund der potenziell toxischen Wirkung auf die Leber sollten während der Behandlung mit Methotrexat keine zusätzlichen hepatotoxischen Arzneimittel gegeben werden – es sei denn, dies ist eindeutig erforderlich – und der Konsum von Alkohol sollte vermieden oder stark reduziert werden (siehe Abschnitt «Interaktionen»). Bei Patienten, die gleichzeitig andere hepatotoxische Arzneimittel anwenden (z.B. Leflunomid), sollten die Leberenzyme noch engmaschiger kontrolliert werden.
Bei Patienten mit insulinpflichtigem Diabetes mellitus ist generell besondere Vorsicht geboten, da sich unter der Behandlung mit Methotrexat in Einzelfällen auch ohne Anstieg der Transaminasenwerte eine Leberzirrhose entwickelt hat.
4. Die Nierenfunktion sollte mit Nierenfunktionsprüfungen und Urinanalyse kontrolliert werden.
Da Methotrexat überwiegend renal ausgeschieden wird, können im Falle einer renalen Insuffizienz erhöhte Konzentrationen erwartet werden, die schwere Nebenwirkungen auslösen können.
Bei möglicherweise eingeschränkter Nierenfunktion (z.B. bei älteren Patienten) sollte die Überwachung engmaschiger erfolgen. Dies gilt insbesondere wenn zusätzlich Arzneimittel gegeben werden, die die Ausscheidung von Methotrexat beeinträchtigen, Nierenschädigungen verursachen (z.B. nicht steroidale Antirheumatika) oder potentiell zu Blutbildungsstörungen führen können. Dehydratation kann ebenfalls die Toxizität von Methotrexat steigern.
5. Untersuchung des respiratorischen Systems:
Aufmerksam auf Symptome einer beeinträchtigten Lungenfunktion achten und, falls erforderlich, Lungenfunktionstest. Eine Affektion der Lunge erfordert eine schnelle Diagnose und Absetzen von Methotrexat. Pulmonale Symptome (vor allem trockener Reizhusten) oder unspezifische Lungenentzündung, die während der Methotrexat-Therapie auftreten, können auf eine potenziell gefährliche Schädigung hinweisen und machen eine Unterbrechung der Therapie sowie eine sorgfältige Untersuchung erforderlich. Auch wenn das klinische Bild variiert, zeigt der typische Patient mit Methotrexat-induzierter Lungenerkrankung Fieber, Husten mit Atemnot, Hypoxämie und ein Infiltrat auf dem Röntgenbild des Brustkorbs; Infektionen müssen ausgeschlossen werden. Diese Läsion kann bei allen Dosierungen auftreten.
6. Methotrexat kann auf Grund seiner Wirkung auf das Immunsystem das Ansprechen auf Impfungen beeinträchtigen und das Ergebnis immunologischer Tests beeinflussen. Besondere Vorsicht ist bei Bestehen inaktiver chronischer Infektionen (z.B. Herpes zoster, Tuberkulose, Hepatitis B oder C) geboten, da diese eventuell aktiviert werden können. Impfungen mit Lebendimpfstoffen dürfen nicht gleichzeitig durchgeführt werden.
Dieses Arzneimittel enthält weniger als 1 mmol Natrium (23 mg) pro Fertigspritze, d.h. es ist nahezu «natriumfrei».
InteraktionenAlkohol, hepatotoxische, hämatotoxische Arzneimittel
Die Wahrscheinlichkeit, dass Methotrexat hepatotoxische Effekte auslöst, wird durch regelmässigen Alkoholkonsum und die gleichzeitige Einnahme weiterer hepatotoxischer Arzneimittel erhöht. Patienten, die gleichzeitig weitere hepatotoxische Mittel (z.B. Leflunomid) einnehmen, sollten mit besonderer Vorsicht überwacht werden. Dies sollte auch berücksichtigt werden, wenn gleichzeitig hämatotoxische Arzneimittel (z.B. Leflunomid) eingenommen werden. Die Inzidenz von Panzytopenie und Hepatotoxizität kann erhöht sein, wenn Leflunomid mit Methotrexat kombiniert wird.
Die kombinierte Behandlung mit Methotrexat und Retinoiden wie Acitretin oder Etretinat erhöht das Hepatotoxizitätsrisiko.
Die gleichzeitige Anwendung von Metamizol und Methotrexat kann die hämatotoxische Wirkung von Methotrexat verstärken, insbesondere bei älteren Patienten. Daher sollte eine gleichzeitige Anwendung vermieden werden.
Orale Antibiotika
Orale Antibiotika wie Tetrazykline, Chloramphenicol und nicht absorbierbare Breitbandantibiotika können den enterohepatischen Kreislauf durch Hemmung der Darmflora oder Hemmung der bakteriellen Metabolisierung beeinflussen.
Antibiotika
Antibiotika, wie Penicilline, Glykopeptide, Sulfonamide, Ciprofloxazin und Cefalotin können, in einzelnen Fällen, die renale Clearance von Methotrexat reduzieren, so dass erhöhte Serumkonzentrationen von Methotrexat mit gleichzeitiger hämatologischer und gastrointestinaler Toxizität auftreten könnten.
Probenecid, schwache organische Säuren, Pyrazole und nicht-steroidale Antiphlogistika
Probenecid, schwache organische Säuren wie Schleifendiuretika und Pyrazole (Phenylbutazon) können die Ausscheidung von Methotrexat herabsetzen und es kann angenommen werden, dass höhere Serumkonzentrationen entstehen und zu hämatologischer Toxizität führen. Das Risiko erhöhter Toxizität besteht auch, wenn niedrig dosiertes Methotrexat mit nicht-steroidalen Antiphlogistika oder Salicylaten kombiniert wird.
Arzneimittel mit unerwünschten Wirkungen auf das Knochenmark
Bei Behandlung mit Arzneimitteln, die mögliche Nebenwirkungen auf das Knochenmark aufweisen (z.B. Sulfonamide, Trimethoprim-Sulfamethoxazol, Chloramphenicol, Pyrimethamin) ist die Möglichkeit ausgeprägter Störungen der Blutbildung zu beachten.
Arzneimittel die Folatmangel verursachen
Die gleichzeitige Verabreichung von Arzneimitteln, die Folatmangel verursachen (z.B. Sulfonamide, Trimethoprim-Sulfamethoxazol) kann zu erhöhter Methotrexat-Toxizität führen. Besondere Vorsicht ist deshalb auch bei einem bereits bestehenden Folsäuremangel geboten.
Andere Antirheumatika
Ein Anstieg der Toxizität von Methotrexat ist im Allgemeinen nicht zu erwarten, wenn Methrexx gleichzeitig mit anderen Basistherapeutika (z.B. Goldverbindungen, Penicillamin, Hydroxychloroquin, Sulfasalazin, Azathioprin, Cyclosporin) angewendet wird.
Sulfasalazin
Obwohl die Kombination von Methotrexat und Sulfasalazin wegen der Hemmung der Folsäure-Synthese durch Sulfasalazin eine Wirkungsverstärkung von Methotrexat und damit vermehrt Nebenwirkungen verursachen kann, wurden solche Nebenwirkungen in mehreren Untersuchungen nur in seltenen Fällen beobachtet.
Protonenpumpeninhibitoren
Die gleichzeitige Gabe von Protonenpumpenhemmern wie Omeprazol und Pantoprazol kann zu Interaktionen führen: Gleichzeitige Gabe von Methotrexat und Omeprazol führte zu einer Verzögerung der renalen Elimination von Methotrexat. In Kombination mit Pantoprazol wurde über einen Fall von Hemmung der renalen Elimination des Metaboliten 7-Hydroxymethotrexat mit Myalgie und Schüttelfrost berichtet.
Koffein- oder Theophyllin-haltige Getränke
Übermässiger Genuss Koffein- oder Theophyllin-haltiger Getränke (Kaffee, Koffein-haltige Softdrinks, schwarzer Tee) sollte während der Methotrexat-Therapie vermieden werden.
Mercaptopurin
Methotrexat erhöht die Mercaptopurin-Plasmaspiegel. Die Kombination von Methotrexat und Mercaptopurin kann daher eine Dosisanpassung erforderlich machen.
Valproat
Fallberichte beschreiben eine signifikante Abnahme der Valproat-Serumspiegel und das Auftreten klinischer Symptome wie epileptische Anfälle innerhalb weniger Stunden nach der Verabreichung von Methotrexat. Während der Kombinationsbehandlung mit Valproat und Methotrexat müssen die verschreibenden Ärzte das klinische Ansprechen überwachen (Kontrolle von Anfällen oder manischen Episoden) und eine engmaschige, regelmässige und angemessene Überwachung der Valproat-Serumspiegel veranlassen.
Arzneimittel mit hoher Plasmaproteinbindung
Methotrexat ist plasmaproteingebunden und kann durch andere proteingebundene Arzneimittel wie Salicylate, Hypoglykämika, Diuretika, Sulfonamide, Diphenylhydantoine, Tetrazykline, Chloramphenicol und p-Aminobenzoesäure sowie saure antiinflammatorische Substanzen verdrängt werden, was bei gleichzeitiger Anwendung zu erhöhter Toxizität führen kann.
Lachgas-Anästhesie
Die Verabreichung von Methotrexat nach Lachgas-Anästhesie ist kontraindiziert. Die Verwendung von Distickstoffmonoxid-Anästhetika verstärkt den Effekt von Methotrexat auf den Folat-Stoffwechsel, was zu einer erhöhten Toxizität wie schwerwiegende unvorhersehbare Myelosuppression, Stomatitis und Neurotoxizität führt (siehe «Warnhinweise und Vorsichtsmassnahmen»). Dieser Effekt kann durch Folat-Supplementation reduziert werden (siehe «Dosierung/Anwendung»).
Schwangerschaft, StillzeitFrauen im gebärfähigen Alter/Empfängnisverhütung bei Frauen
Frauen dürfen während der Methotrexat-Therapie nicht schwanger werden und müssen während und mindestens 6 Monate nach Abschluss der Therapie mit Methotrexat eine effektive Verhütungsmethode anwenden (siehe Abschnitt «Warnhinweise und Vorsichtsmassnahmen»). Vor Behandlungsbeginn müssen gebärfähige Frauen über das Fehlbildungsrisiko durch Methotrexat aufgeklärt werden. Ausserdem muss eine bestehende Schwangerschaft durch geeignete Massnahmen wie einen Schwangerschaftstest mit Sicherheit ausgeschlossen werden. Während der Behandlung sollten Schwangerschaftstests nach klinischem Bedarf vorgenommen werden (z.B. nach nicht erfolgter Empfängnisverhütung). Gebärfähige Patientinnen müssen über Schwangerschaftsprävention und -planung beraten werden.
Empfängnisverhütung bei Männern
Es ist nicht bekannt, ob Methotrexat sich im Samen anreichert. In tierexperimentellen Studien hat sich Methotrexat als genotoxisch erwiesen, sodass das Risiko genotoxischer Auswirkungen auf das Sperma nicht vollständig ausgeschlossen werden kann. Begrenzte klinische Evidenz deutet nicht darauf hin, dass ein erhöhtes Risiko für Fehlbildungen oder Fehlgeburten besteht, wenn der Vater Methotrexat in geringen Dosen erhalten hat (weniger als 30 mg/Woche). Für höhere Dosen liegen keine ausreichenden Daten vor, um das Risiko für Fehlbildungen oder Fehlgeburten nach väterlicher Exposition einzuschätzen.
Als Vorsichtsmassnahme sollten sexuell aktive männliche Patienten oder ihre weiblichen Partner während und mindestens 3 Monate nach Abschluss der Therapie mit Methotrexat zuverlässige Empfängnisverhütungsmassnahmen anwenden. In diesem Zeitraum sollten Männer auch keinen Samen spenden.
Schwangerschaft
Methrexx ist während der Schwangerschaft kontraindiziert (siehe auch Abschnitt «Kontraindikationen»). In Studien an Tieren hat Methotrexat Reproduktionstoxizität gezeigt, vor allem im ersten Trimenon (siehe auch Abschnitt «Präklinische Daten»). Es wurde gezeigt, dass Methotrexat beim Menschen teratogen wirkt; es wurde berichtet, dass es den Tod des Fötus und/oder kongenitale Anomalien verursacht. Die Exposition einer begrenzten Anzahl schwangerer Frauen (42) resultierte in einer erhöhten Inzidenz (1:14) von Missbildungen (kranial, kardiovaskulär und die Extremitäten betreffend). Im Falle des Absetzens von Methotrexat vor der Konzeption wurde über normale Schwangerschaften berichtet. Frauen dürfen während der Methotrexat-Therapie nicht schwanger werden. Falls während der Therapie eine Schwangerschaft eintritt, sollte eine medizinische Beratung zum Risiko unerwünschter Wirkungen für das Kind im Zusammenhang mit einer Methotrexatbehandlung in Anspruch genommen werden. Daher müssen Patienten im geschlechtsreifen Alter (Frauen und Männer) einen wirksamen Empfängnisschutz während der Behandlung mit Methrexx sowie noch mindestens sechs (Frauen) resp. drei (Männer) Monate danach praktizieren (siehe auch Abschnitt «Warnhinweise und Vorsichtsmassnahmen»).
Methotrexat ist bei nicht-onkologischen Indikationen während der Schwangerschaft kontraindiziert (siehe Abschnitt «Kontraindikationen»). Wenn während der Behandlung mit Methotrexat und bis zu 6 Monate danach eine Schwangerschaft eintritt, muss eine medizinische Beratung über das Risiko schädlicher, im Zusammenhang mit der Therapie stehender Wirkungen auf das Kind erfolgen. Ausserdem sollten Ultraschalluntersuchungen durchgeführt werden, um die normale Entwicklung des Fötus zu bestätigen.
Tierexperimentelle Studien haben eine Reproduktionstoxizität gezeigt, besonders im ersten Trimenon (siehe Abschnitt Präklinische Daten). Methotrexat erwies sich beim Menschen als teratogen; es wurde beobachtet, dass es den Tod des Fötus, Fehlgeburten und/oder fetale Fehlbildungen verursacht (wie kraniofazial, kardiovaskulär, das Zentralnervensystem und die Extremitäten betreffend).
Methotrexat ist ein starkes humanes Teratogen, das bei einer Exposition während der Schwangerschaft das Risiko für Spontanaborte, intrauterine Wachstumsstörungen und kongenitale Fehlbildungen erhöht.
·Spontanaborte wurden bei 42,5 % der Schwangeren unter Methotrexat in niedriger Dosierung (weniger als 30 mg/Woche) beobachtet. Bei Patientinnen mit vergleichbarer Erkrankung, die mit anderen Arzneimitteln als Methotrexat behandelt wurden, betrug die Rate gemeldeter Aborte 22,5 %.
·Schwerwiegende Geburtsfehler traten bei 6,6 % der Lebendgeburten von Frauen auf, die während der Schwangerschaft Methotrexat in niedriger Dosierung (weniger als 30 mg/Woche) erhalten hatten. Bei Patientinnen mit vergleichbarer Erkrankung, die mit anderen Arzneimitteln als Methotrexat behandelt wurden, waren etwa 4 % der Lebendgeburten betroffen.
Für die Exposition gegenüber Methotrexat-Dosen höher als 30 mg/Woche während der Schwangerschaft liegen keine ausreichenden Daten vor, aber es sind höhere Raten von Spontanaborten und kongenitaler Fehlbildungen zu erwarten.
War Methotrexat vor der Empfängnis abgesetzt worden, wurde über normale Schwangerschaften berichtet.
Stillzeit
Methotrexat wird in derartigen Konzentrationen in der Milch ausgeschieden, dass ein Risiko für den Säugling besteht. Somit muss vor der Behandlung abgestillt und während der Behandlung darf nicht gestillt werden.
Fertilität
Methotrexat beeinträchtigt die Spermatogenese und Oogenese und kann die Fertilität verringern. Es gibt Berichte, dass Methotrexat beim Menschen Oligospermie, Menstruationsstörungen und Amenorrhö auslöst. Diese Effekte scheinen nach Beendigung der Therapie reversibel zu sein.
Wirkung auf die Fahrtüchtigkeit und auf das Bedienen von MaschinenWährend der Behandlung können Symptome des zentralen Nervensystems wie Müdigkeit und Verwirrtheit auftreten. Methrexx hat einen geringen oder mässigen Einfluss auf die Verkehrstüchtigkeit oder das Bedienen von Maschinen.
Unerwünschte WirkungenDie häufigsten Nebenwirkungen sind gastro-intestinale Beschwerden, eine Beeinträchtigung der Leberfunktion und des hämatopoetischen Systems.
Das Auftreten und der Schweregrad von unerwünschten Arzneimittelwirkungen hängen von der Höhe der Dosierung und der Häufigkeit der Anwendung von Methrexx ab. Da es jedoch auch bei niedriger Dosierung zu schwerwiegenden Nebenwirkungen kommen kann, ist eine regelmässige Überwachung durch den Arzt in kurzen zeitlichen Abständen unerlässlich.
Die folgenden Angaben werden zur Einteilung der Häufigkeitsangaben der Nebenwirkungen verwendet: Sehr häufig (≥1/10), häufig (≥1/100, <1/10), gelegentlich (≥1/1000, <1/100), selten (≥1/10'000, <1/1000), und sehr selten (<1/10'000), nicht bekannt (kann von den bisher vorhandenen Daten nicht geschätzt werden).
Gutartige, bösartige und nicht spezifizierte Neubildungen (einschl. Zysten und Polypen)
Sehr selten: Es wurde über das Auftreten von Lymphomen berichtet, die sich in einigen Fällen nach dem Absetzen der Therapie mit Methotrexat zurückgebildet haben. Eine erhöhte Inzidenz für das Auftreten von Lymphomen bei einer Methotrexatbehandlung konnte in einer neueren Untersuchung nicht festgestellt werden.
Erkrankungen des Blutes und des Lymphsystems
Häufig: Leukozytopenie, Anämie, Thrombozytopenie.
Gelegentlich: Panzytopenie.
Sehr selten: Agranulozytose, schwere Verläufe von Knochenmarkdepression.
Erkrankungen des Nervensystems
Häufig: Kopfschmerzen, Müdigkeit, Benommenheit.
Gelegentlich: Schwindel, Verwirrtheit, Depressionen.
Sehr selten: Sehstörungen, Schmerzen, Muskelschwäche, Parästhesie/Hypoästhesie, Geschmacksveränderungen (metallischer Geschmack), Krampfanfälle, aseptische Meningitis, Meningismus, Lähmungen.
Nicht bekannt: Enzephalopathie/Leukenzephalopathie.
Erkrankungen der Atemwege, des Brustraums und Mediastinums
Häufig: Interstitielle Alveolitis/Pneumonitis. Symptome, die auf potentiell schwere Lungenschädigungen (interstitielle Pneumonitis) hinweisen sind: trockener Reizhusten, Kurzatmigkeit und Fieber.
Selten: Lungenfibrose, Pneumocystis-carinii Pneumonitis, Kurzatmigkeit und Asthma bronchiale.
Nicht bekannt: Pulmonale Alveolarblutung.
Erkrankungen des Gastrointestinaltrakts
Sehr häufig: Stomatitis (20–30%), Dyspepsie (bis 60%), Übelkeit (60–70%), Appetitlosigkeit (60–70%).
Häufig: Ulzerationen der Mundschleimhaut, Diarrhoe.
Gelegentlich: Pharyngitis, Enteritis, Pankreatitis, Erbrechen.
Selten: Ulzerationen des Magen-Darm-Traktes.
Sehr selten: Hämatemesis, Hämatorrhoe.
Leber- und Gallenerkrankungen
Sehr häufig: Anstieg der Transaminasen (bis 70%).
Gelegentlich: Leberzirrhose, Leberfibrose, Leberverfettung.
Erkrankungen der Haut und des Unterhautgewebes
Häufig: Exantheme, Erytheme, Pruritus.
Gelegentlich: Photosensibilität, Haarausfall, Zunahme von Rheumaknoten, Herpes zoster, Vaskulitis, herpetiforme Hauteruptionen, Urtikaria.
Selten: Verstärkte Pigmentierung.
Sehr selten: Stevens-Johnson-Syndrom, toxische epidermale Nekrolyse (Lyell-Syndrom), verstärkte Pigmentierung der Nägel, akute Paronychie.
Nicht bekannt: Exfoliation der Haut/exfoliative Dermatitis.
Skelettmuskulatur-, Bindegewebs- und Knochenerkrankungen
Gelegentlich: Arthralgie, Myalgie und Osteoporose.
Erkrankungen der Nieren und Harnwege
Gelegentlich: Entzündungen und Ulzerationen im Bereich von Harnblase, Störung der Nierenfunktion, Blasenentleerungsstörungen.
Selten: Niereninsuffizienz, Oligurie, Anurie, Elektrolytstörungen.
Erkrankungen der Geschlechtsorgane und der Brustdrüse
Gelegentlich: Entzündungen und Ulzerationen im Bereich der Vagina.
Sehr selten: Libidoverlust, Impotenz, Oligospermie, Menstruationsstörungen, vaginaler Ausfluss.
Allgemeine Erkrankungen und Beschwerden am Verabreichungsort
Selten: Allergische Reaktionen, anaphylaktischer Schock, allergische Vaskulitis, Fieber, Konjunktivitis, Infektion, Sepsis, Wundheilungsstörungen, Pleuraerguss, Perikarderguss, Perikardtamponade, Hypogammaglobulinämie.
Bei intramuskulärer Anwendung von Methotrexat kann es an der Injektionsstelle zu lokalen Nebenwirkungen (brennendes Gefühl) oder Schäden (sterile Abszessbildung, Untergang von Fettgewebe) kommen.
Nicht bekannt: Ödem.
Die Meldung des Verdachts auf Nebenwirkungen nach der Zulassung ist von grosser Wichtigkeit. Sie ermöglicht eine kontinuierliche Überwachung des Nutzen-Risiko-Verhältnisses des Arzneimittels. Angehörige von Gesundheitsberufen sind aufgefordert, jeden Verdacht einer neuen oder schwerwiegenden Nebenwirkung über das Online-Portal ElViS (Electronic Vigilance System) anzuzeigen. Informationen dazu finden Sie unter www.swissmedic.ch.
ÜberdosierungAnzeichen und Symptome
Toxische Nebenwirkungen von Methotrexat betreffen hauptsächlich das hämatopoetische System.
Behandlung
Als spezifisches Antidot zur Neutralisation toxischer Nebenwirkungen von Methotrexat steht Calciumfolinat zur Verfügung.
Im Falle einer versehentlichen Überdosierung sollte eine der schädlichen Methotrexatdosis identische oder höhere Dosis Calciumfolinat intravenös oder intramuskulär innerhalb von 1 Stunde gegeben werden und es sollte weiter dosiert werden, bis die Methotrexat-Serumspiegel unter 10–7 mol/l liegen.
Im Falle einer massiven Überdosierung sollte versucht werden, mittels Hydrierung sowie Alkalisierung des Urins die Präzipitation von Methotrexat und/oder seiner Metaboliten in den renalen Tubuli zu minimieren. Weder für Hämodialyse noch für Peritonealdialyse konnte der Nachweis erbracht werden, dass die Methotrexat-Elimination verbessert wurde. Eine effektive Methotrexat-Clearance ist für akute, intermittierende Hämodialyse mit einem High-Flux-Dialysiergerät berichtet worden.
Eigenschaften/WirkungenATC-Code
L04AX03
Wirkungsmechanismus
Methotrexat ist ein Folsäureantagonist, der als Antimetabolit zur Gruppe der zytotoxischen Substanzen gehört. Er wirkt über die kompetitive Hemmung des Enzyms Dihydrofolat-Reduktase und inhibiert somit die DNS-Synthese. Bisher ist nicht geklärt, ob die Wirksamkeit von Methotrexat bei der Behandlung der Psoriasis, Psoriasis-Arthritis und chronischen Polyarthritis und des Morbus Crohn auf einem anti-inflammatorischen oder immunsuppressiven Effekt beruht und in welchem Ausmass extrazelluläre Adenosin-Konzentrationen zu den Effekten beitragen.
Die Nebenwirkungen, die in den Morbus Crohn-Studien mit Methotrexat bei kumulativen Dosen beobachtet wurden, zeigen im Vergleich zum bereits bekannten Profil kein verändertes Sicherheitsprofil für Methotrexat. Daher muss Methotrexat bei der Behandlung von Morbus Crohn genauso vorsichtig angewendet werden wie bei anderen rheumatischen und nichtrheumatischen Indikationen von Methotrexat (siehe Abschnitte «Warnhinweise und Vorsichtsmassnahmen» und «Schwangerschaft und Stillzeit»).
Pharmakodynamik
Methotrexat dringt über einen aktiven Transporter für reduzierte Folate und aufgrund einer relativ irreversiblen Bindung in die Zelle ein. Dort wirkt es hauptsächlich während der «S-Phase» der Zellteilung durch kompetitive Hemmung der Dihydrofolsäurereduktase. Dihydrofolate werden durch dieses Enzym zu Tetrahydrofolaten reduziert, welche als Carrier für Einkohlenstoff-Gruppen für die Synthese von Purin-Nukleotiden und Thymidylaten fungieren. Methotrexat hemmt damit die DNS-/RNS-Synthese, -Reparatur und Zellproliferation. Die Affinität der Dihydrofolatreduktase für Methotrexat ist wesentlich grösser als die Affinität für Fol- oder Dihydrofolsäure. Aktiv proliferierende Gewebe wie maligne Zellen, Knochenmark, fetale Zellen, Mund- und Darm-Mukosa, Psoriasis-befallene Hautbereiche, Haarmatrix sowie die Zellen der Harnblase reagieren im Allgemeinen empfindlicher auf die Wirkung von Methotrexat.
Bei der Psoriasis ist die Produktionsrate von Epithelzellen der Haut stark erhöht gegenüber der normalen Haut. Diese unterschiedliche Proliferationsrate bildet die Basis für die Anwendung von Methotrexat zur Kontrolle des psoriatischen Krankheitsverlaufs.
Methotrexat weist auch eine immunsuppressive Wirkung auf.
Die Methotrexatwirkung kann durch Gabe von Leucovorin (Folinsäure, N5-Formyltetrahydrofolsäure) aufgehoben werden.
Klinische Wirksamkeit
Keine relevanten Daten vorhanden.
PharmakokinetikAbsorption
Pharmakokinetik bei Erwachsenen
Die Absorption von Methotrexat nach intramuskulärer sowie subkutaner Verabreichung ist rasch und praktisch vollständig (76–100%), maximale Serumspiegel werden nach 0,25−2 h erreicht.
Distribution
Die Plasmaeiweissbindung von Methotrexat beträgt ca. 50%. Bei der Verteilung erfolgt eine Anreicherung vor allem in Leber, Niere und Milz in Form von Polyglutamaten, die zum Teil wochen- bis monatelang retiniert werden können. Methotrexat tritt in niedriger Dosierung in minimalen Mengen in den Liquor über. Die terminale Halbwertszeit beträgt im Mittel 6–7 Stunden und weist eine erhebliche Schwankungsbreite (3–17 Stunden) auf. Bei Patienten mit einem dritten Verteilungsraum (Pleuraerguss, Aszites) kann die Halbwertszeit bis um das Vierfache verlängert sein.
Metabolismus
Ca. 10% der angewendeten Methotrexat-Dosis werden intrahepatisch metabolisiert. Der Hauptmetabolit ist 7-Hydroxymethotrexat.
Elimination
Die Ausscheidung erfolgt überwiegend unverändert renal durch glomeruläre Filtration und aktive Sekretion im proximalen Tubulus.
Ca. 5–20% Methotrexat und 1–5% 7-Hydroxymethotrexat werden biliär eliminiert. Es besteht ein ausgeprägter enterohepatischer Kreislauf.
Kinetik spezieller Patientengruppen
Die Elimination verläuft bei eingeschränkter Nierenfunktion deutlich verzögert. Einschränkungen der Ausscheidung bei eingeschränkter Leberfunktion sind derzeit nicht bekannt.
Präklinische DatenDa konventionelle Karzinogenitätsstudien nicht durchgeführt wurden und die Daten aus chronischen Toxizitätsstudien an Nagetieren inkonsistent sind, gilt Methotrexat in Bezug auf seine Karzinogenität für den Menschen als nicht klassifizierbar.
Sonstige HinweiseInkompatibilitäten
Die Kompatibilität mit anderen parenteralen Produkten ist nicht untersucht worden. Es wird empfohlen, dieses Arzneimittel nicht mit anderen Arzneimitteln oder Verdünnungsmitteln zu mischen.
Haltbarkeit
Das Arzneimittel darf nur bis zu dem auf dem Behälter mit «EXP» bezeichneten Datum verwendet werden.
Besondere Lagerungshinweise
In der Originalverpackung, bei Raumtemperatur (15–25°C), vor Licht geschützt und ausser Reichweite von Kindern lagern.
Hinweise für die Handhabung
Zur sicheren Verwendung der Methrexx Fertigspritzen wird das Arzneimittel mit einer sogenannten Sicherheitsnadel zur Verfügung gestellt. Die Nadel befindet sich in einer Schutzhülse, die bei der Einführung automatisch zurückfährt und die Nadel freigibt. Nach erfolgter Injektion blockiert sich die Schutzhülse und die Spitze der Nadel ist geschützt. Dadurch werden Nadelstichverletzungen verhindert.
Beachten Sie gewissenhaft jeden Schritt zur Injektion unter die Haut, um die Fertigspritze fehlerfrei zu gebrauchen:
Öffnen Sie die Schachtel mit der Methrexx-Fertigspritze und lesen Sie aufmerksam die Gebrauchsinformation.
Halten Sie die innen liegende Packung so, dass die Spritze nicht herausfällt und nehmen Sie - bei Raumtemperatur - durch Abziehen der Deckfolie, die Spritze aus der Packung.
|
|

|
1. Nehmen Sie die innere Verpackung, die die Spritze und Nadel enthält, aus der Schachtel. Öffnen Sie die innere Verpackung durch Ziehen an der sich in der Ecke befindlichen Lasche. Entnehmen Sie die Fertigspritze. Drehen Sie die mit Kunststoff umgebene graue Gummikappe von der Spritze ab, ohne die Spritzenöffnung zu berühren.
| |
|

|
2. Legen sie die Spritze in die innere Verpackung zurück. Die gelbe Lösung kann nicht ausfliessen. Prüfen Sie nun, ob die Siegeletikette der Nadelverpackung unbeschädigt ist.
| |
|

|
3. Entfernen Sie die Kappe von der Nadel umgebenden Kunststoffhülle (Nadelschutzhülle) durch Drehen und anschliessendes Ziehen. Achten Sie beim Öffnen der Nadelschutzhülle darauf, die runde, sterile Öffnung nicht zu berühren. Hierzu halten Sie die Nadelschutzhülle am besten am hinteren Ende fest.
| |
|

|
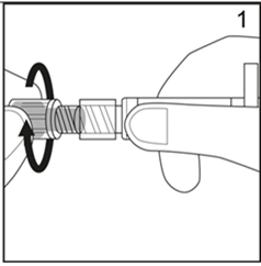
4. Befestigen Sie die Nadel samt Nadelschutzhülle mit einer Drehbewegung, im Uhrzeigersinn bis zum Anschlag, an der Spritze. Die Nadelschutzhülle noch an der Nadel lassen! Legen Sie die Spritze in Reichweite ab.
| |
|

|
5. Wählen Sie eine Injektionsstelle am Bauch- oder Oberschenkelbereich und desinfizieren Sie diese mit einem Tupfer, der mit Desinfektionsmittel getränkt ist. Lassen Sie das Desinfektionsmittel ca. 30 bis 60 Sekunden einwirken.
| |
|

|
6. Ziehen Sie die Nadelschutzhülle gerade von der Nadel ab. Prüfen Sie im optischen Anzeiger, dass dieser blau ist. Die Spritze ist jetzt gebrauchsfertig. Wichtig: um eine versehentliche Aktivierung des Schutz-mechanismus zu vermeiden, darf die entfernte Nadelschutzhülle nicht wieder aufgesteckt werden. Die die Nadel umgebende Schutzhülse darf vor der Einführung nicht berührt werden. Jeglicher Druck auf diese Schutzhülse kann zum Einrasten des Schutzmechanismus führen und somit die Nadel unbrauchbar machen. In diesem Fall finden Sie keine blaue Markierung im Anzeigefenster. Falls dies geschehen sollte, bitten Sie Ihren Arzt oder Apotheker um eine neue Nadel.
| |
|

|
7. Formen Sie mit zwei Fingern an der desinfizierten Stelle eine Hautfalte. Mit der zweiten Hand fassen Sie die Spritze an, wie in Bild 7 zu sehen. Durchstechen Sie die Hautfalte annährend im rechten Winkel, in einer durchgehenden Bewegung - ohne zu zögern oder abzusetzen. Stossen Sie die Nadel in die Hautfalte bis die Schutzhülse vollständig eingefahren ist.
| |
|

|
8. Halten Sie die Spritze mit konstanten Druck gegen die Haut gedrückt. Gleichzeitig schieben Sie den Spritzenkolben langsam in die Spritze, bis die gesamte Flüssigkeit verabreicht ist. Ziehen Sie die Nadel vorsichtig aus der Haut. Die Nadel wird durch den Schutzmechanismus automatisch gesichert. Drücken Sie mit einem Tupfer auf die Einstichstelle bis keine Blutung mehr besteht. Reiben Sie nicht, um Reizungen an der Einstichstelle zu vermeiden.
| |
|

|
9. Nach dem Verabreichen verschwindet das blaue Zeichen im optischen Anzeiger als Bestätigung, dass der Schutzmechanismus automatisch verriegelt ist. Der Nadelschutz ist aktiviert und verhindert Stichverletzungen. Bitte entsorgen Sie die gebrauchte Spritze mittels einer Spritzenentsorgungsbox.
|
Die Art der Handhabung und Entsorgung muss der Handhabung und Entsorgung anderer zytotoxischer Zubereitungen entsprechen. Medizinisches Fachpersonal, das schwanger ist, sollte nicht mit Methrexx umgehen oder es verabreichen.
Methotrexat sollte nicht mit der Haut oder Mukosa in Berührung kommen. Im Falle einer Kontamination müssen die betroffenen Areale sofort mit einer ausreichenden Menge Wasser abgespült werden.
Nur zur einmaligen Anwendung. Jegliche nicht verbrauchte Lösung ist zu verwerfen.
Die Injektionslösung enthält kein Konservierungsmittel. Aus mikrobiologischen Gründen ist die gebrauchsfertige Injektionslösung unmittelbar nach Anbruch zu verwenden.
Zulassungsnummer62083 (Swissmedic)
Packungen1 Fertigspritze Methrexx 7,5 mg/0,75 ml mit Alkoholtupfer. [A]
1 Fertigspritze Methrexx 10 mg/1 ml mit Alkoholtupfer. [A]
1 Fertigspritze Methrexx 15 mg/1,5 ml mit Alkoholtupfer. [A]
1 Fertigspritze Methrexx 20 mg/2 ml mit Alkoholtupfer. [A]
1 Fertigspritze Methrexx 7,5 mg/0,375 ml mit Alkoholtupfer. [A]
1 Fertigspritze Methrexx 10 mg/0,5 ml mit Alkoholtupfer. [A]
1 Fertigspritze Methrexx 12,5 mg/0,625 ml mit Alkoholtupfer. [A]
1 Fertigspritze Methrexx 15 mg/0,75 ml mit Alkoholtupfer [A]
1 Fertigspritze Methrexx 17,5 mg/0,875 ml mit Alkoholtupfer. [A]
1 Fertigspritze Methrexx 22,5 mg/1,125 ml mit Alkoholtupfer. [A]
1 Fertigspritze Methrexx 27,5 mg/1,375 ml mit Alkoholtupfer. [A]
1 Fertigspritze Methrexx 20 mg/1 ml mit Alkoholtupfer. [A]
1 Fertigspritze Methrexx 25 mg/1,25 ml mit Alkoholtupfer. [A]
1 Fertigspritze Methrexx 30 mg/1,5 ml mit Alkoholtupfer. [A]
ZulassungsinhaberinSandoz Pharmaceuticals AG, Risch; Domizil: Rotkreuz
Stand der InformationFebruar 2025
|